高速膜片聯軸器|高速聯軸器選型及注意事項
更新時間:2019-03-26 10:10:46?點擊:26717 ? 企業動態
當今行業用聯軸器最高轉速可達到140000rpm,從外觀感覺來看基本上看不出聯軸器在動,速度越高對聯軸器的要求就越高,要求包括材質,工藝,加工精度。
一、高速膜片聯軸器結構主要包含以下幾種:
1、超高速膜片聯軸器
超高速膜片聯軸器轉速可從3000-70000rpm;聯軸器材質可以使用鋼,鋁,鈦等合金材料,具有良好的機械性能和良好的轉動性能;
超高速聯軸器結構參照下圖:
超高速聯軸器尺寸及詳細說明參照:膜片聯軸器-高速型(BH)和膜片聯軸器-雙膜片基本型(BL)點擊可查看
2、高速膜片聯軸器
高速膜片聯軸器轉速可從3000-30000rpm;聯軸器材質可以使用鋼,鋁,鈦等合金材料,具有良好的機械性能和良好的轉動性能;
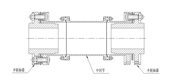
其中BR型擁有高速聯軸器特殊的結構特性如下圖,能夠減小附加彎矩,重量輕,對機組的安全運行具有保駕護航的特性;
為了增加高速性能的穩定性,公司自主對聯軸器微小細節進行調整,高速性能得到進一步提升;或得國家創新新型;
BR型高速聯軸器安裝較方便,將兩側半聯軸器分別套在軸上,進行打表找正,三表找正之后,安裝中間節;半聯軸器部位為出廠安裝完成部分不需要拆解;
BR型高速膜片聯軸器具有分體和整體的動平衡特性;
二、高速膜盤聯軸器:
1、超高速膜盤聯軸器
超高速膜盤聯軸器轉速可從3000-140000rpm;聯軸器材質可以使用鋼,鈦等合金材料,具有良好的機械性能和良好的轉動性能;
超高速膜盤聯軸器是我公司自主研發的高速膜盤聯軸器,具有無螺栓連接,吸收性能好,高速運轉,和動平衡特性;
用在特殊高速電機應用場合;
具體尺寸請參照超高速膜盤聯軸器;
2、高速膜盤聯軸器
高速膜盤聯軸器轉速可從3000-100000rpm;結構為雙曲面結構,型面較薄,能夠吸收徑向,軸向,角向不對中。
三、高速鼓形齒聯軸器
BGH高速鼓形齒聯軸器是鼓形齒聯軸器基礎上優化產物,通過特殊的結構設計和改進的鼓形齒齒形設計,以及在加工精度及動平衡等級上的嚴格要求,
能夠滿足在傳動領域上高轉速工況下的動態特性要求。 鼓形齒聯軸器在工作時,兩周產生相對角位移,內外齒的齒面周期性作軸向相對滑動,必然形
成齒面磨損和功率損耗,因此,鼓形齒聯軸器需在有良好潤滑和密封的狀態下工作。對于較高轉速的工況,建議采用稀油潤滑的方式強制潤滑,有利于
熱量的擴散,降低齒面溫度,提供齒的使用壽命,推薦安裝邦克機電公司數據表中的最低潤滑油量提供潤滑油。
鼓形齒聯軸器是機械工業基礎件之一,多用于重載,要求效率高以及兩聯軸器有較大調整誤差和擺角的傳動中,鼓形齒聯軸器在生產實踐中愈來愈被
人們所重視,它可以補償兩連接軸因軸線不重合而形成的角度,軸向和徑向安裝誤差,允許兩個軸有一定的位移。其轉動方向可以為順時鐘,也可以
為逆時針,它可以水平方向傳動,也可以在特殊結構下垂直傳動,在一般機器制造業中具有較大的優點,特別是在下列條件下尤其顯得優越:間歇運
動的機械;傳動負荷較大的機械;兩聯接軸有較大的調整誤差等等。基于上述特點,鼓形齒聯軸器被廣泛用于冶金、礦山、軋鋼等行業,對于高速鼓
形齒聯軸器,還可以應用于燃氣輪機的軸系傳動等。
|
型號 |
公稱轉矩 kNm |
轉速 rpm |
軸徑d mm |
DA mm |
D1 mm |
Lmin mm |
潤滑油量 Q/min |
|
BGH4 |
4.5 |
6150 |
30~80 |
215 |
110 |
100 |
24 |
|
BGH5 |
7.1 |
5400 |
35~90 |
245 |
125 |
105 |
33 |
|
BGH6 |
10 |
4540 |
40~100 |
275 |
140 |
115 |
39 |
|
BGH7 |
14 |
3960 |
50~110 |
295 |
155 |
120 |
48 |
|
BGH8 |
20 |
3580 |
55~125 |
325 |
175 |
135 |
61 |
|
BGH9 |
25 |
3210 |
65~140 |
350 |
196 |
155 |
69 |
|
BGH10 |
40 |
2930 |
75~160 |
395 |
224 |
155 |
101 |
|
BGH11 |
56 |
2590 |
85~180 |
430 |
252 |
175 |
125 |
四、高速蛇形彈簧聯軸器
BJSG型高速蛇簧聯軸器
通上所述,高速聯軸器主要有這些種類組成,應用場合較多,具體適用場合可跟邦克技術部取得聯系;
推薦閱讀
-
膜片聯軸器膜片你真的了解嗎?
2019-04-17 14:20:47?24507 次
-
高速膜片聯軸器|高速聯軸器選型及注意事項
2019-03-26 10:10:46?26717 次
-
冷卻器的選型-原理安裝
2019-03-15 12:11:44?29303 次
-
膜片聯軸器DJM03/DJM02/DJM04在市場上的應用
2019-03-11 10:53:43?28594 次


